Wasserstoff „on demand“
Wasserstoff „on demand“ - Wasserstoff auf Anforderung für Verbrennungskraftmaschinen
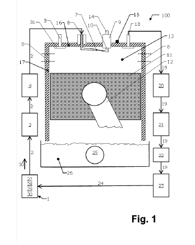
Ein langjähriges ÖVR- Mitglied Dr. Alfred Klaar, der die fast 1000 Seiten!!!! lange Enzyklopädie, insbesondere über Wasserstoff, Knallgas und neue Energiemöglichkeiten geschrieben hat, hat nun das nächste Patent in der Schweiz angemeldet. ?

Zur Patentschrift: PDF
Zu den Skizzen und Zeichnungen: PDF

Die Anmeldebestätigung: PDF
Hier geht's zur freien Enzyklopädie:
https://www.klaar.at/dl/Energie_enzi.pdf

Der große Vorteil dieser Erfindung (welche noch als Prototyp realisiert werden müsste, für die ein 50:50 Partner gesucht wird- Anfragen beim ÖVR- Sekretariat) liegt darin, dass die momentanen Verbrennungskraftmaschinen (KFZ, Stromgeneratoren etc.) die noch im Umlauf sind als auch neu gebaut werden, nur umgebaut werden müssen und kein Wasserstofftank als Zwischenlagerung mitgeführt werden muss.
Somit ist eine große Gefahr einer Explosion bei einem Super Crash gebannt.
Der Treibstoff sollte quasi nach Bedarf direkt im Auto hergestellt werden und es braucht nur Wasser im Treibstofftank.
UMWELTFREUNDLICHER KÖNNEN SOMIT VERBRENNUNGSKRAFTMASCHINEN NICHT MEHR WERDEN!
Wie wir bei der letzten ÖVR- Fachtagung 2020 schon festgestellt haben, ist das in der technischen Praxis, in welcher Form auch immer schon lange möglich.

In der Beilage finden Sie einen weiteren Fachartikel zu diesem Thema aus dem NET- Journal:
PDF - https://www.borderlands.de/net_pdf/NET0917druckS23-24.pdf
Ing. Wilhelm Mohorn
ÖVR-Präsident







